Contact

Post:

CIVIL AVIATION AUTHORITY OF MALAYSIA
AERONAUTICAL INFORMATION SERVICES
AIR TRAFFIC CONTROL TOWER (TOWER WEST)
JALAN KLIA 2/4,
64000 KLIA,
SELANGOR DARUL EHSAN
MALAYSIA.

Tel: 6-03-8778 4106

Email: ais@caam.gov.my

URL: aip.caam.gov.my

AIC for Malaysia

AIC

01/26

Effective Date: 22 JAN 2026

Publication Date: 22 JAN 2026

  ESTABLISHMENT OF PROCEDURES FOR THE EXTENSION OF AIR TRAFFIC SERVICES
OPERATING HOURS UPON REQUEST FROM AIR OPERATORS

1  INTRODUCTION

1.1 The extension of Air Traffic Services (ATS) operating hours is a critical process that enables air operators to request services outside of established aerodrome operating hours. This procedure outlines the process for the safe, efficient, and timely approval and implementation of such extensions, while ensuring compliance with regulatory and operational requirements.
1.2 Before applying for an extension of Air Traffic Services Unit (ATSU) operating hours, air operators shall first obtain approval from the airport operator and other relevant stakeholders, as applicable.

2  PURPOSE

2.1 The purpose of this circular is to:
  1. Standardise the process for handling requests for ATSU operational hour extensions; and

  2. Ensure proper coordination among relevant stakeholders, such as air traffic control units, air operators, airport operators, government agencies, etc.

3  SCHEDULED EXTENSION REQUEST

3.1 Scheduled extension are pre-planned extensions, which are requested well in advance for reasons such as seasonal schedules, new route inaugurations, or specific operational needs. These include:
  1. Festive seasons/holidays;

  2. Chartered flights; and

  3. Military operations.

3.2 For scheduled extensions of ATS operating hours, air operators shall submit a completed Extension of ATS Operating Hours Application Form together with an official request letter addressed to the Chief Executive Officer (CEO) of Civil Aviation Authority of Malaysia (CAAM).
3.3 Submission of request shall be at least one (1) month in advance of the planned schedule month.
3.4 Approval is subject to ATS resource availability, operational feasibility and regulatory compliance.

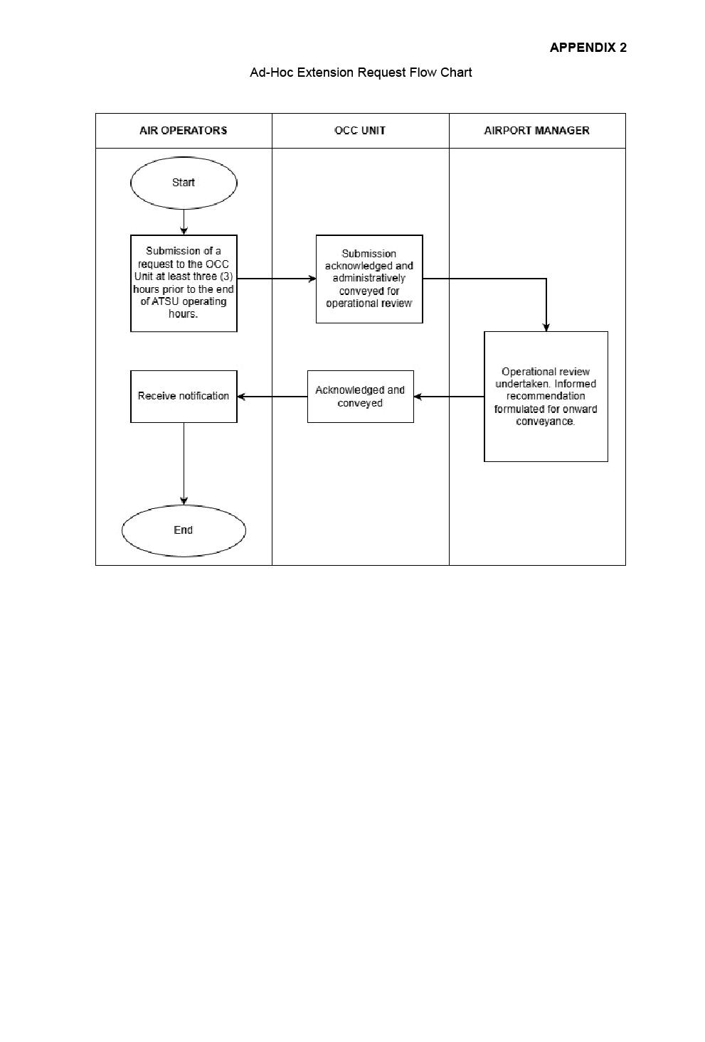
4  AD-HOC EXTENSION REQUEST

4.1 Ad-hoc requests arise from urgent or unforeseen circumstances, such as:
  1. Delayed actual scheduled flights;

  2. Ad-hoc chartered flights; and

  3. Ad-hoc military/state flights.

4.2 For ad-hoc extension requests, air operators shall submit a completed Extension of ATS Operating Hours Application Form via email to CAAM’s Operation Control Centre (OCC) at occ.group@caam.gov.my.
4.3 Submission of request shall be in accordance to the following conditions:
  1. Extension beyond the published operation hours: Requests must be submitted at least three (3) hours before the scheduled end of ATSU operation hours;

  2. Early operation before the published operation hours: Requests must be submitted at least three (3) hours prior to the end of ATSU operation hours on the preceding day.

5  APPLICATION PROCEDURES

5.1 The request in Extension of ATS Operating Hours Application Form should include flight details, aircraft type, reason for extension, proposed extended hours and expected traffic volume.
5.2 Approval is subject to real-time operational capacity and feasibility due to the air traffic control officers (ATCOs) roster already being published by the stations.
5.3 Air operators are responsible for liaising with relevant aerodrome operators and other agencies (CIQ; etc.) to secure extension of aerodrome service. This is to ensure that all necessary coordination with relevant parties (NSCM-MAHB; etc.) has been done and approved before submitting request to CAAM.
5.4 Air operators shall be responsible for the timely dissemination of information following approval or rejection by CAAM. This shall include the prompt notification to CAAM and all relevant stakeholders of any approved cancellation or operator-initiated cancellation of the request, in accordance with established communication and coordination procedures.
5.5 Air operators shall adhere strictly to the approved flight schedule (departure/arrival times) to ensure compliance with ATCO duty period limitations under CAD 11 Appendix 5. Any amendments or retiming of the flight schedule require a new submission of request.
5.6 General Aviation (GA) operators are not required to request extensions of ATS operating hours. Therefore, GA operators are expected to conduct all operations strictly within the published aerodrome and ATS operating hours stated in the AIP Malaysia.
5.7 Medevac and other emergency-related flight operations are excluded from the scope of this procedure.
5.8 The operating hours of the CAAM OCC shall be from 0900LT to 2300LT. Any request submitted outside these operating hours shall not be entertained.

6  FORM

6.1 The Extension of Air Traffic Services Operating Hours Request Form is available on the CAAM website at www.caam.gov.my, under E-Services & Forms, in the Operation Control Centre (OCC) tab.

7  APPENDIX

7.1 List of appendices are as follows:
  1. Appendix 1 – Scheduled Extension Request Flow Chart; and

  2. Appendix 2 – Ad-Hoc Extension Request Flow Chart.

8  CONTACTS

8.1 For more information or to provide feedback, please contact CAAM’s OCC at 03-8529 1221 / 011 – 6570 1221 or via email occ.group@caam.gov.my

- END -